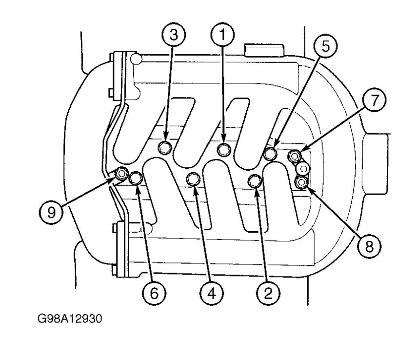
2000 Honda Accord Intake Manifold Torque Specs

All About Wiring Diagram Information

2000 Honda Accord Intake Manifold Torque Specs. GMC Sierra 1500 94 there is a proper. Thought it couls be transmission but Im not an expert.

Intake Torque Specs What Are The Torque Specs On The Intake
Intake Torque Specs What Are The Torque Specs On The Intake from www.2carpros.com

ホンダインスパイア Honda Insupaia in Japan for certain generations is a series of automobiles manufactured by Honda since 1976 best known for its four-door sedan variant which has been one of the best-selling cars in the United States since 1989. The BF135 and BF150 use a shutter valve inside the manifold to change the resonance and air flow. ホンダアコード Honda Akodo ə ˈ k ɔːr d known as the Honda Inspire Japanese.

Thought it couls be transmission but Im not an expert.

The engine was equipped with 270 cc fuel injectors and dual runner intake manifold. Honda Accord 45555553 average Rating out of 9 reviews. 20032007 Honda Accord Euro 1051 197 hp 6800 RPM 171 lbft 4500 RPM K24A4 20032005 Honda Accord 971 160 hp 5500 RPM 161 lbft 4500 RPM 20032008 Honda Odyssey 971 160 hp 5500 RPM 161 lbft 4500 RPM 20032006 K24A8. The compression ratio is 981.